Advanced Fluoropolymer Devices GmbH
Precision Manufacturing Meets Transfer Molding
Installation and Operating Manual
Ball Check Valve
PFA Lined Ball Check Valve
Prohibron9
This comprehensive manual provides detailed instructions for safe transport, installation, operation, and routine maintenance of your equipment.
Please review all sections carefully before proceeding. Keep this manual accessible for future reference.
Important Safety Notice
Carefully observe these operating instructions before transport, installation, operation, and maintenance!
Failure to follow proper procedures may result in equipment damage, personal injury, or voided warranty.
Manual Information
- Document Version: 1.0
- Last Updated: December 29, 2025
- Document Type: Installation and Operating Manual
- Language: English
Quick Reference Guide
📋 Before You Start
🚚 Transport Guidelines
⚙️ Installation Process
🔧 Operation Manual
🛠️ Maintenance Schedule
📞 Support Contact
| Parameter | Value |
|---|---|
| Name | Prohibron9 |
| Design norm | DIN/ISO | ANSI |
| Size | DN 25-250 | NPS 1"-10" |
| Flange dimensions | DIN 2501 (PN 16) | ASME B16.10 (Class 150-RF LP) |
| Face to face dimensions | PN (EN 558-1), Series 1 | ANSI-B-16.5 |
| Lining | PFA, PFA/AS, FEP, PP, PVDF |
| Body | 1.0619 or 1.4308/1.4408/1.4409 | A216/WCB,CF8/CF8M/CF3M |
| Pressure | Vacuum to 10 bar, according to pressure-temperature diagram |
| Temperature range | -10°C up to 200°C |
| Leakage rate | According to DIN 12266-1, leakage rate A |
| Quality | Body 16bar, Back Seat 2 bar leakage rate D (other leakage rates on request), Spark Test 20kV |
| Certificates | EU Pressure Equipment Directive 2014/68/EU, SIL |

DIN Weight Specifications
| Size DIN | Weight |
|---|---|
| DN 25 | 4,9 kg |
| DN 40 | 8,9 kg |
| DN 50 | 12 kg |
| DN 80 | 26 kg |
| DN 100 | 35 kg |
| DN 150 | 70 kg |
ANSI Weight Specifications
| Size ANSI | Weight |
|---|---|
| NPS 1" | 4,9 kg |
| NPS 1½" | 8,9 kg |
| NPS 2" | 12 kg |
| NPS 3" | 26 kg |
| NPS 4" | 35 kg |
| NPS 6" | 70 kg |
DIN Pipe Screws
| Size | Screws | Tightening Torque [Nm] [Nm/lbs] |
|---|---|---|
| DN 25 | 4 x M12 | 10 |
| DN 40 | 4 x M16 | 20 |
| DN 50 | 4 x M16 | 26 |
| DN 80 | 8 x M16 | 25 |
| DN 100 | 8 x M16 | 35 |
| DN 150 | 8 x M20 | 65 |
ANSI Pipe Screws
| Size | Screws | Tightening Torque [Nm] [Nm/lbs] |
|---|---|---|
| NPS 1" | 4 x ½“ | 70/8 |
| NPS 1½" | 4 x ½“ | 135/15 |
| NPS 2" | 4 x ⅝“ | 220/15 |
| NPS 3" | 4 x ⅝“ | 400/45 |
| NPS 4" | 8 x ⅝“ | 310/35 |
DIN Body Screws
| Size | Screws | Tightening Torque [Nm] [Nm/lbs] |
|---|---|---|
| DN 25 | 4 x M12 | 35/310 |
| DN 40 | 4 x M16 | 45/398 |
| DN 50 | 4 x M16 | 45/398 |
| DN 80 | 8 x M16 | 50/442 |
| DN 100 | 8 x M16 | 60/531 |
| DN 150 | 8 x M20 | 150/1330 |
ANSI Body Screws
| Size | Screws | Tightening Torque [Nm] [Nm/lbs] |
|---|---|---|
| NPS 1" | 4 x M12 | 310/35 |
| NPS 1½" | 4 x M16 | 398/45 |
| NPS 2" | 4 x M16 | 398/45 |
| NPS 3" | 8 x M20 | 442/50 |
| NPS 4" | 12 x M24 | 531 /80 |
DIN Flow Rate
| Size | KVS Value |
|---|---|
| DN 25 | 27 |
| DN 40 | 97 |
| DN 50 | 122 |
| DN 80 | 300 |
| DN 100 | 410 |
| DN 150 | 360 |
ANSI Flow Rate
| Size | CV Value |
|---|---|
| NPS 1" | 31 |
| NPS 1½" | 113 |
| NPS 2" | 142 |
| NPS 3" | 348 |
| NPS 4" | 476 |
| NPS 6" | 418 |
P-T-Diagram for Prohibron9 PFA Lined Ball Check Valve
10. Dimensional Drawings
10.1 Dimensional Measurements DIN
| Size | L | ød | øk | øD | Bolting | Weight |
|---|---|---|---|---|---|---|
| DN 25 | 160 mm | 68 mm | 85 mm | 115 mm | 4 x 14 (M12) | 4,9 kg |
| DN 40 | 200 mm | 88 mm | 110 mm | 150 mm | 4 x 18 (M16) | 8,9 kg |
| DN 50 | 230 mm | 102 mm | 125 mm | 165 mm | 4 x 18 (M16) | 12 kg |
| DN 80 | 310 mm | 138 mm | 160 mm | 200 mm | 8 x 18 (M16) | 26 kg |
| DN 100 | 350 mm | 158 mm | 180 mm | 220 mm | 8 x 18 (M16) | 35 kg |
| DN 150 | 480 mm | 212 mm | 240 mm | 285 mm | 8 x 22 (M20) | 70 kg |
10.2 Dimensional Measurements ANSI
| Size | L | ød | øk | øD | Bolting | Weight |
|---|---|---|---|---|---|---|
| NPS 1" | 160 mm | 50,8 mm | 79,4 mm | 108 mm | 4 x 15.9 | 4,9 kg |
| NPS 1½" | 200 mm | 73 mm | 98,4 mm | 127 mm | 4 x 15.9 | 8,9 kg |
| NPS 2" | 230 mm | 92,1 mm | 120,5 mm | 152,4 mm | 4 x 19 | 12 kg |
| NPS 3" | 310 mm | 127 mm | 152,5 mm | 190,5 mm | 4 x 19 | 26 kg |
| NPS 4" | 350 mm | 157,2 mm | 190,5 mm | 228,6 mm | 8 x 18 | 35 kg |
| NPS 6" | 394 mm | 216 mm | 241 mm | 279 mm | 8 x 22.2 | 70 kg |
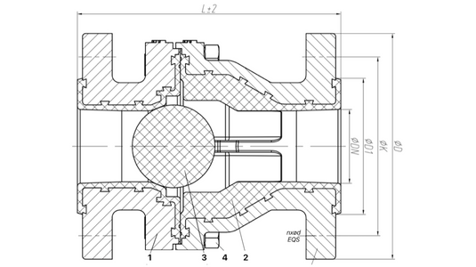
11. Sectional Drawing
| Pos. | Item | Material |
|---|---|---|
| 1 | Body | 1.0619 , 1.4308, 1.4408/ A216WCB, CF8-M or CF-8 |
| 2 | Lining | PFA, PFA/AS, FEP, PVDF |
| 3 | Ball | PTFE massive or hollow |
| 5 | Bolts, Nuts and Screws | A2/A4-70 Stainless Steel |


